发布时间:2022-05-16浏览量:1289
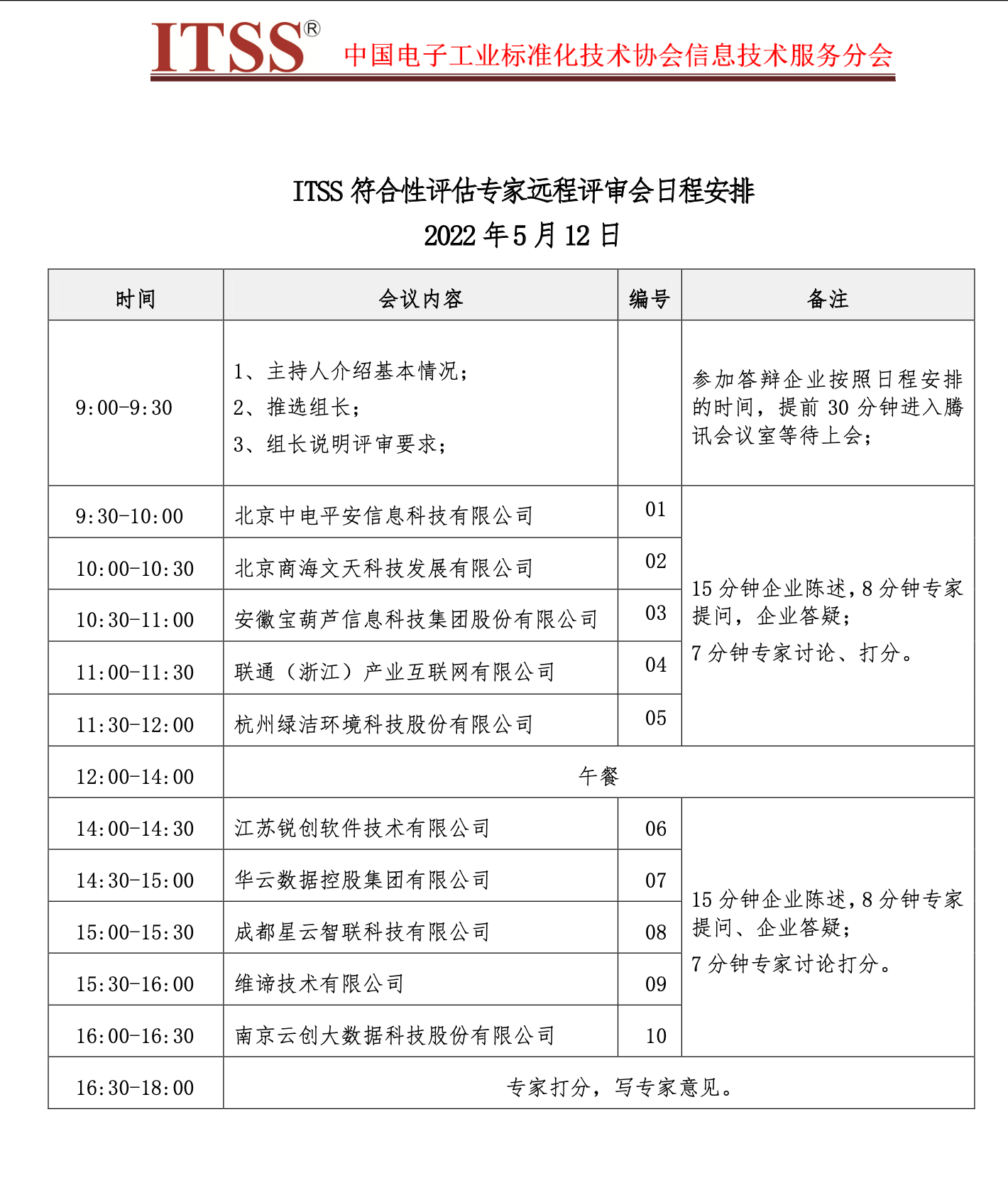
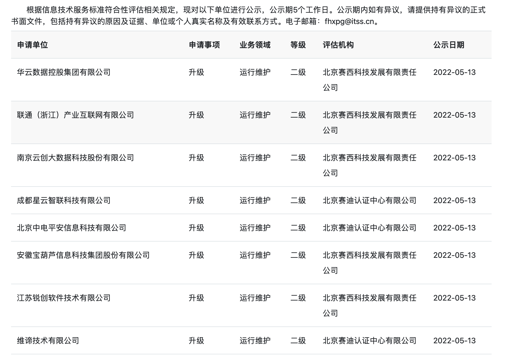
2022年5月12日,ITSS中国电子工业标准化技术协会信息技术服务分会安排了十家企业进行ITSS符合性评估专家远程评审,十家企业审核评估通过了八家,我们擎标服务的三家企业再次全部通过审核并公示,预祝我们的客户早日收到证书。


下面再给大家完整的介绍一下ITSS认证的流程:
1、确定级别并申请
2、建立体系并运行
3、初步评审现场审核
4、出具评审意见并整改
5、向ITSS分会提交资料
6、上会答辩
7、公布结果
8、发证
通过上述流程,我们可以看到ITSS认证的过程还是非常严谨的,这也侧面展示了ITSS认证的一个权威性。另外,认证通过的一个关键点除了企业自身的准备工作,找到一个靠谱的咨询机构也是非常有必要的,专业的机构能在认证审核中起到专业的建议与服务,节省企业大量的时间成本的同时,能够大大提升认证通过率,这一点企业一定要重视。那擎标辅导的ITSS客户通过率在行业内遥遥领先,每次参与上会答辩都能够顺利通过,那想要了解ITSS认证费用的企业,可联系在线客服。




